NIGHT LIGHT PIVOT MIRROR

Pivot, light, and monitor your baby with ease using the included remote

Brand: Brica
Launch: 2021

Product & Strategic Context:
Developed the first premium LED-integrated baby mirror that allows parents to safely monitor rear-facing infants day or night. Transformed a commodity mirror category by adding remote-controlled, glare-free lighting and 360-degree pivot functionality, securing Target placement and establishing new quality benchmark for the brand.

Achievement: iF Design Award 2021, Target retail placement, established premium SKU in commodity category

A square mirror with rounded edges and a built-in light at the bottom, accompanied by a remote control with four buttons, against a dark blue background. The remote has icons for check mark, light, paint palette, and Wi-Fi symbol. An iF Design Award 2021 logo is in the bottom left corner.

INSIGHTS
(Based on Competitor Analysis and Customer Insights)

A child car seat mirror mounted on the rear headrest of a beige car with a beige leather interior, reflecting the back window and part of the interior.

“STABILITY ISSUE — IT WON’T STAY FIXED”

"I’ve had this mirror for about four months. I chose it because it has a light, which works adequately, but the mirror itself won’t stay straight. Every trip requires readjusting it, and it quickly becomes crooked again. Overall, it’s not worth the money in my experience."

Baby sitting in a car seat with a dark background.

“DISSATISFIED WITH MIRROR PERFORMANCE"

The mirror provides a zoomed-out view, making the baby appear very small and difficult to see clearly. The battery lasts only a couple of days before needing a recharge, and the standard light is not bright enough for nighttime use.

Interactive baby play mat with jungle animal illustrations and an attached mirror, with remote control buttons, and a child sitting in a car seat reflected in the mirror

“OUR EXISTING PRODUCT NEEDS AN IMPROVEMENT”

The existing mirror offers no angle adjustment, leading to limited visibility. Customers have also reported frequent issues with the remote control’s quality. In addition, the LED lighting is too dim, failing to provide a sufficient glow.

CUSTOMER FRUSTRATION CREATES ROOM FOR INNOVATION

Collection of four customer reviews about a dimmer LED light for a car. The reviews mention the light being too dim, the mirror function not working well, and the remote stopping after two weeks. The reviews are presented on a purple background with a quote section that summarizes key points about the product.

TESTING COMPETITOR SAMPLES TO IDENTIFY AND UNDERSTANDING THEIR KEY PROBLEMS

Comparison of a car's interior rearview mirror with the light off and on, showing the difference in visibility through the mirror.

EXPLORING IDEAS THROUGH SKETCHES

A collection of hand-drawn sketches and diagrams of various retro-style television designs and components, including different screen shapes, side profiles, and assembly details.

VALIDATING IDEAS, LEARNING FROM FAILURES, FINDING BETTER SOLUTIONS THROUGH TESTING

Compilation of images showing the process of repairing and installing car interior lights, including dismantling parts, wiring, installing LED lights, and testing the lighting in the vehicle.

DEVELOPMENT

Illustration of a medical or scientific device with a rectangular top, a pink circular base, and a purple support connecting the two parts.

PREMIUM PRODUCT STRATEGY

Led category transformation from basic mirror to integrated lighting system, creating market differentiation required for Target shelf placement.

Open robotic vacuum cleaner with exposed internal components on a desk, with a laptop, screwdriver, remote, and other tools nearby.

PROTOTYPE DEVELOPMENT & VALIDATION

Directed testing for attachment stability, pivot functionality, and lighting performance across varied automotive environments.

The photo shows the view of a car's rearview mirror at night, reflecting the interior of the car and a baby sitting in a car seat. Below the mirror, there are three LED light samples with different resistances (470 ohm, 620 ohm, 840 ohm) displaying different shades of blue light and labeled with their brightness and color appearance.

LIGHTING DESIGN & USER SAFETY

Defined LED positioning and diffusion to illuminate infant without driver distraction, balancing visibility needs with glare-free operation.

Render of a device or gadget's interior showing internal components and circuitry, with a transparent outer casing.

ENGINEERING & MANUFACTURING COORDINATION

Partnered with overseas teams to integrate pivot mechanism and LED electronics while meeting automotive safety standards and cost targets.

Illustration showing how to attach a mirror to a headrest, with a comparison of correct and incorrect methods, and step-by-step instructions to wrap straps around the headrest and tighten straps to secure the mirror.

TECHINCAL DOCUMENTATION & COMPLIANCE

Facilitated collaboration between external technical writers and internal legal teams to develop installation guides, safety warnings, and consumer instructions ensuring regulatory compliance.

Pair of virtual reality or augmented reality goggles on a wooden table with LED lights and wiring inside.

QUALITY STANDARD & DOCUMENTATION

Inspected and documented the injection-molded forms, details, and features prior to pre-production and final texture application.

A man installing or adjusting a car seat headrest inside a vehicle with a smile on his face.

FEATURE

A person is attaching or adjusting a beige-colored headrest on a car seat using a black strap and clip inside a vehicle.

EASY ATTACHMENT SYSTEM

Securely installs in seconds with adjustable straps, ensuring a stable fit on most vehicle headrests.

A modern, square-shaped mirror with a black frame and built-in LED lighting, mounted on a small stand with metal legs.

WARM, SOFT LED LIGHTING TO ILLUMINATE BABY’S FACE

Gentle, non-glaring light makes it easy to check on your baby during nighttime drives.

A golf club with a headcover, shown with five putters on a white background.

ANGLE ADJUSTMENT WITH ROBUST PIVOT HINGE

Smooth, sturdy hinge allows effortless positioning for the perfect viewing angle.

A black remote control with four buttons, including a checkmark symbol, a lightbulb icon, a paint palette, and a wave pattern, branded with 'brica' at the bottom.

REMOTE CONTROL WITH SUN VISOR CLIP

Convenient remote lets you adjust lighting without turning around, and clips neatly to your sun visor for quick access.

A modern home security or smart device with a rectangular mirror and rounded edges, mounted on two metallic legs with a glowing blue light at the bottom.

COLOR-CHANGING LED MODE FOR MOOD CONTROL (CALMING OR GENTLE WAKE-UP)

Switch between soothing tones to relax your baby or brighter colors to wake them gently.

A smiling toddler girl with dark hair in a car seat with a built-in light, inside a vehicle.

DISTORTION-FREE, SHATTER-PROOF MIRROR (CRASH TESTED & CERTIFIED)

Clear, accurate reflection with safety-certified construction to withstand impact in the event of a collision.

Top view of a robotic vacuum cleaner showing its underside with side brushes, wheels, and sensors.
A white and black virtual reality (VR) headset with a reflective front panel and a small red indicator light at the top
Detailed view of a disassembled virtual reality headset showing internal components and casing parts.
Smiling man driving a family vehicle with a young girl in a booster seat in the back and toddler girl in a car seat behind him.
A smiling man driving a car with a child in a rear-facing car seat in the backseat, and another child looking out from a window in the back seat at night.
Smiling young girl seated in a car seat inside a vehicle, reaching towards the window with her right hand, wearing colorful striped leggings and a blue shirt.
Packaging of a baby in-sight pivot car mirror with a black frame, adjustable light settings, and remote control, designed for use in cars.
Packaging for Munchkin brica baby car window shade with light settings, mirror pivots, and safety check features, green and white box with mountain and sunset graphics, includes images of a smiling man driving and a child's car seat.

Successfully integrated complex electromechanical systems into a safety-critical automotive environment, resulting in strong market validation (4.2★ rating across 4,291+ reviews) and multi-million-dollar commercial success—demonstrating that a rigorous, systems-driven design approach can deliver both technical excellence and real-world impact.

Recognized with the 2021 iF Design Award and featured in an article on Core77.

Screenshot of an article webpage titled 'Simplify Caretaking with iF Design Awards' Best Childcare Products of 2021' by Sarah Fonder, published June 22, 2021, with a heading and introductory text about childcare product innovations.
A man driving a car with a baby in a car seat behind him, and a rearview mirror with a small child smiling, illuminated by LED lights.
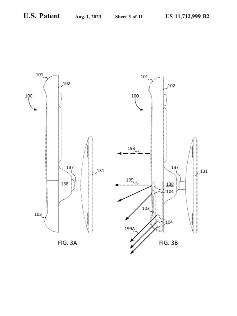
Patent document for a vehicle mirror with a built-in light for child seat illumination, including a diagram showing the mirror housing, attachment, and light source.
Patent diagram illustrating two figures of a device with labeled components, including elongated structures, internal parts, and directional arrows.