SHINE™ STAINLESS STEEL BOTTLE DRYING RACK

Designed to Look Great in Any Kitchen Environment

Brand: Munchkin
Launch: 2016

“Premium stainless steel drying rack air dries up to 8 bottles plus contains a large tray area that holds accessories, pump parts and cups.”

Innovative and sleek design includes moveable drying pegs that can be placed in any configuration to customize the drying rack for your specific drying needs, extending its use beyond the infant and toddler years. Convenient drip tray system collects excess water in the base to keep it away from clean items and off of countertops. Ultra-durable and sturdy drying pegs fold completely flat for easy storage.

A modern dish drying rack with a perforated metallic tray and vertical holders for utensils, positioned on a sleek base, with award icons in the lower left corner.

INSIGHTS

Modern kitchen with blue cabinets, white marble backsplash, and a kitchen island with a white marble countertop and beige paneling. Three navy blue barstools are at the island. Gold pendant lights hang from the ceiling, and there are potted plants and kitchen accessories for decoration.

“ON AVERAGE KITCHENS ARE THE MOST VALUABLE ROOM IN THE HOUSE”

Collection of stainless steel kitchen utensils including a spatula, tongs, whisk, ladle, slotted spoon, solid spoon, pasta server, and spatula.

“I PREFER KITCHEN PRODUCTS MADE WITH STAINLESS STEEL”

A kitchen drawer and a foldable table extension attached to the counter, with the table folded up and resting against the drawer.

“I WANT THINGS TO BE COLLAPSABLE”

PROCESS

A collection of sketches and diagrams of scientific and engineering equipment, experimental apparatus, and prototype designs, some with colored highlights.

DEVELOPMENT

A catalog page displaying various stainless steel dish racks, drying racks, and bottle drying racks with prices listed.

COMPETITOR RESEARCH
Understanding competitors by testing products, interview with actual users and read customer reviews to define Pros and Cons.

A collection of bottle drying racks including a bottle drying rack priced at $9.00, a high capacity bottle drying rack priced at $15.00, a latch spinning drying rack priced at $18.00, and a stainless steel bottle drying rack placeholder without a visible price.

DESIGN STRATEGY
To introduce a new premium drying rack item while ensuring it coexists harmoniously with existing products and avoids cannibalization.

Sketches of various mechanical devices and tools, including connectors, containers, and abstract shapes, with handwritten notes and labels.

IDEATION
Explored as many ideas as possible through quick sketches.

Close-up of a company promotional display showing baby bottles with blue caps, some with straws, arranged on a tray or stand, with a cleaning brush with a blue and white pom-pom top visible in some images.

MOCKUP
Created quick physical mockups using cardboards, sticks and found materials to study foot print and necessary requirements to hold full 6 sets of bottles and small parts.

Set of sterilizing and drying cases for surgical and medical instruments in various shapes and sizes, made of plastic and metal with colorful accents.

CONCEPT DESIGN
Created various concept for both internal stakeholders and consumer testing.

A collection of engineering sketches and technical drawings of various mechanical device components on white paper, including different angles and details of parts like bases, handles, and connectors.

REFINEMENT OF CONCEPT
Chose the direction and refined the concept into Design for Manufacturing phase.

Close-up of a metal lab rack with white plastic holders on a perforated metal surface.

WORKING PROTOTYPES
Created working prototypes to test the folding mechanism and product configuration before the design was handed over to the engineering team.

Digital rendering of antenna array components, showing the assembly and internal structure of a radar or communication device.

COLLABORATION WITH ENGINEERING TEAM
Collaborate with the engineers to create improved feature and mechanism.

Diagram of a dish drying rack with labeled parts, including a stainless steel base, white tray outer overmold, tray inner substrate, and supporting rods, with a heart logo on the side.

CMF
Color-material-finish specification was created for costing and sample making purposes.

Dish drying rack with foldable drying tray and upright drying stand in white and gray colors.

INTERNATIONAL UTILITY PATENT
Collaborated with the Legal team and filed an international utility patent.
International Publication Number: WO2017/147348A1

  • Moveable, ultra-durable drying pegs provide customizable configuration and fold flat for easy storage.

  • Holds up to 8 bottles plus accessories, pump parts, cups, etc.

  • Convenient removable drip tray system collects water in base, away from clean items.

  • Sleek design extends use beyond the infant and toddler years.

White dish rack with several upright rods for drying dishes on a perforated tray.

FEATURE

Test tube rack with empty test tube holders and a white test tube dispenser on a white background.

MODULAR DESIGN
LEGO-like pegs are removable to make rooms for different shapes and sizes of bottles and cups.

Medical or laboratory equipment with a perforated metal surface and adjustable rails, possibly a sterile tray or sterilizer rack.

COLLAPSIBLE
The pegs fold down and become collapsible, so the product can fit into a drawer or a shallow space.

Colorful coffee capsules in green, blue, orange, silver, and gray on a perforated metallic tray.

DURABLE AND BUILT TO LAST
All parts were built to last baby years, and the tray can be used without the pegs.

Disassembled white Wi-Fi router with antennas on a gray background, showing internal components and plastic casing.
Disassembled surgical instrument organizer with various parts and a perforated metal tray.
A futuristic, toy-like laboratory rack with pink and white accessories including a spray, a cup, and other gear on a perforated metallic tray.
A white dish drying rack with a perforated base and foldable arms for holding dishes, set against a plain white background.
Medical breast pump kit with containers, tubing, valves, and protective covers on a sterilization tray.
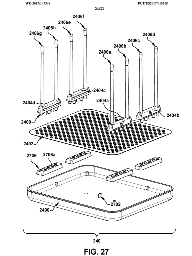
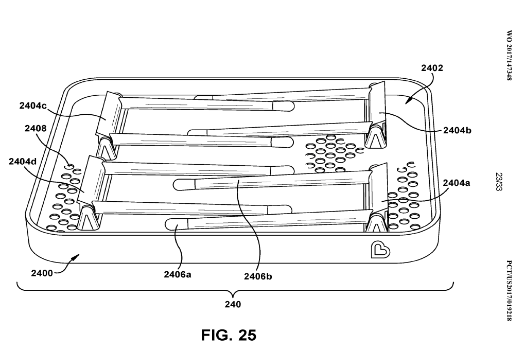
Diagram of a modular bottle rack with labeled parts and description of its features.
Exploded view of a wireless router with antennas, circuit board, and base, showing assembly parts and labels.
Diagram of a laboratory setup with labeled components and pipes, part of a technical illustration.
Diagram of a battery charger with three slots, each containing a rod and a set of small holes for ventilation, labeled with part numbers.